轧钢油泥热解产物及动力学分析研究

Research on pyrolysis products and kinetic analysis of steel rolling oil mud

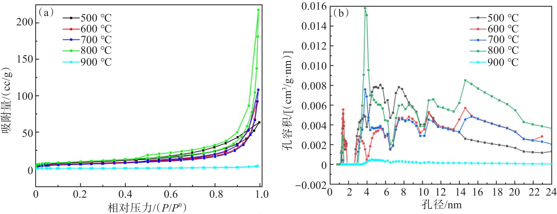
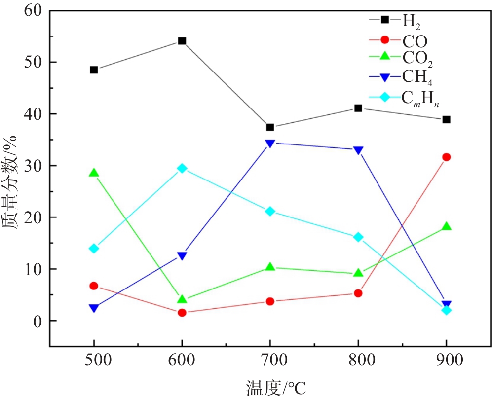
  • 摘要: 为实现轧钢油泥的资源化利用,对轧钢油泥的热解产物进行了研究,着重分析了不同热解温度下固体产物的表面形貌、比表面积和孔结构,采用拉曼光谱对固体产物的碳结构变化进行分析,并对轧钢油泥的热解过程进行动力学分析。结果表明,热解气的主要成分为H2和CH4,在700~800 ℃之间CH4中C-H键断裂导致CH4含量减少、H2含量增高;在热解温度为800 ℃时,通过固体产物的SEM像可以观察到表面有粗糙密集的微凸,总比表面积达到最大值33.682 m2/g,氮气吸附平衡时的吸附量也最高;通过拉曼光谱分析发现,在500~800 ℃范围,随着热解温度升高,ID1/IG值从2.12逐渐升高到3.38,无定形碳结构增多;在热解过程中,合理地控制反应的温度和时间,可以提高油泥的脱油率,热解时间为2 h时,不同热解温度的油泥脱油率均大于94%,热解温度为800 ℃时,油泥的脱油率为97.29%;通过Friedman-Reich-Levi法分析得出轧钢油泥热解反应活化能E随转化率的增加而呈现先增加后减少再增加的趋势。

     

    Abstract: In order to achieve the resource utilization of steel rolling oil sludge, this article studied the pyrolysis products of steel rolling oil sludge, focusing on analyzing the surface morphology, specific surface area, and pore structure of solid products at different pyrolysis temperatures, as well as analyzed the carbon structure changes of solid products based on Raman spectroscopy. Moreover, the dynamic analysis was conducted on the pyrolysis process of steel rolling oil sludge. The results show that the main components in the pyrolysis gas are H2 and CH4. The C-H bond from CH4 fractured between 700 ℃ and 800 ℃, resulting in the decrease of CH4 content and the increase of H2 content. At a pyrolysis temperature of 800 ℃, the SEM image of the solid product show densely packed and rough micro-convexities on the surface, with a total specific surface area of 33.682 m2/g, and the highest adsorption capacity during nitrogen adsorption equilibrium. This indicates that the pore volume at this pyrolysis temperature is greater than at other temperatures. Based on the Raman spectrum analysis, in the range of 500 ℃ to 800 ℃, the value of ID1/IG gradually increases from 2.12 to 3.38 with the increasing temperature, and the amorphous carbon structure increases. In the pyrolysis process, the de-oil rate of oil sludge can be improved by properly controlling the temperature and the reaction time. The de-oil rate of oil sludge at different pyrolysis temperatures is more than 94% when the pyrolysis time is 2 hours, and the de-oil rate of oil sludge at 800 ℃ is 97.29%. Through Friedman Reich Levi method analysis, it is found that the activation energy E of the pyrolysis reaction of steel rolling oil sludge shows a trend of first increasing, then decreasing, and then increasing with the increase of conversion rate.

     

/

返回文章
返回