高级检索
首页
关于本刊
期刊简介
期刊荣誉
编委会
编委会
青年编委
期刊在线
优先发表
当期目录
过刊浏览
浏览排行
下载排行
引用排行
专刊专栏
高级检索
期刊动态
作者中心
作者园地
资料中心
投稿须知
联系我们
English
所有
标题
作者
关键词
摘要
DOI
栏目
地址
基金
中图分类号
PACS
EEACC
首页
关于本刊
期刊简介
期刊荣誉
编委会
编委会
青年编委
期刊在线
优先发表
当期目录
过刊浏览
浏览排行
下载排行
引用排行
专刊专栏
高级检索
期刊动态
作者中心
作者园地
资料中心
投稿须知
联系我们
English
国外地下采矿方法的新进展(二) 崩落采矿法
胡际平
摘要
HTML全文
图
(7)
表
(0)
参考文献
(0)
相关文章
施引文献
资源附件
(0)
摘要
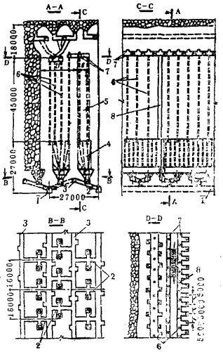
摘要:
文章综述了国外崩落采矿法的发展特点及其新进展,着重介绍了八种新的变型方案,列举了大量实例,为矿山开采提供了有参考价值的信息。
HTML全文
参考文献
(0)
相关文章
施引文献
资源附件
(0)
/
下载:
全尺寸图片
幻灯片
返回文章
分享
用微信扫码二维码
分享至好友和朋友圈
返回
×
Close
导出文件
文件类别
RIS(可直接使用Endnote编辑器进行编辑)
Bib(可直接使用Latex编辑器进行编辑)
Txt
EndNote
引用内容
引文——仅导出文章的Citation信息
引文和摘要——导出文章的Citation信息和文章摘要信息
×
Close
引用参考文献格式