高温还原性气氛下TiOx-SiO2-MgO系结晶过程的研究

Study on crystallization of TiOx-SiO2-MgO system in high temperature and reducing atmosphere

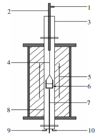
  • 摘要: 实验通过定组成的H2/CO2混合气控制氧分压,在温度为1873 K、1673 K、1473 K,氧分压为1.22×10-8~2.18×10-12Pa、4.92×10-8~8.79×10-12Pa的范围内,研究了TiOx-SiO2-MgO系的析出相。结合XRD和EDS分析并对比汪大亚等人的研究可知,当氧分压较高(PCO:PCO2=5:1)时,对于初始成分TiO2: MgO:SiO2摩尔比为60:25:15的试样,在1873 K和1673 K时的析出相为TiO2,在1473 K时其析出相为MgTi2O5;对于初始成分TiO2: MgO:SiO2摩尔比为60:15:25的试样,在1873 K时其析出相为TiO2,在1673 K和1473 K时析出相为MgTi2O5。而当氧分压较低(PH2: PCO2=600:1、300:1、150:1)时,两种不同成分的试样在不同温度下的析出相均为黑钛石,并且随着氧分压的降低,黑钛石中的Mg含量逐渐减少。

     

    Abstract: In the present study, the formed crystal phases in TiOx-SiO2-MgO system under various oxygen partial pressure at different temperature ranging from 1873 K to 1473 K were characterized. The oxygen partial pressure was controlled by H2/CO2. In the H2/CO2 atmosphere (volume ratio of H2 to CO2 is 300 and 150), the corresponding oxygen partial pressure at 1873 K, 1673 K and 1473 K ranged from 1.22×10-8~2.18×10-12Pa and 4.92×10-8~8.79×10-12Pa respectively. The crystal phase was identified by combining X-ray diffraction with energy dispersive spectrometer analysis (EDS). Comparing to the previous study by Wang Daya et al, the result demonstrated that when the oxygen partial pressure is relatively high (volume ratio of CO to CO2 is 5), for the sample with the molar ratio of TiO2: MgO:SiO2 equal to 60:25:15, TiO2crystal phase formed at 1873 K and 1673 K, MgTi2O5 formed at 1473 K. for the sample with the molar ratio of TiO2: MgO:SiO2 equal to 60:15:25, TiO2crystal phase formed at 1873 K, MgTi2O5 formed at 1673 K and 1473 K. When the oxygen partial pressure is relatively low (volume ratio of H2 to CO2 is 600, 300 and 150), the precipitated crystal phase of all the samples at three different temperature were anosovite, and the content of magnesium in anosovite decreased with the reduction of oxygen partial pressure.

     

/

返回文章
返回