电焊条用钛铁矿的介电特性及微波加热特征

Dielectric properties and microwave heating characteristics of ilmenite for welding electrode

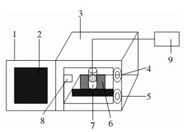
  • 摘要: 电焊条用含钛原料的介电特性研究对于拓宽焊条制造原料来源和发展微波加热制备还原钛铁矿具有重要的指导意义.采用同轴探头反射法测定了钛铁矿粉末(含TiO237%~47%)在2.45 GHz频率下和20~80℃之间的介电特性,并测定钛铁矿在微波场下的温升特性.研究结果表明:钛铁矿的介电常数和介电损耗因子及损耗角正切随着温度的上升而增加,介电特性总体随着含钛品位增高逐渐增强.钛铁矿的穿透深度在40~80℃之间随温度增加逐渐降低,微波加热钛铁矿的最佳物料厚度为3~6 cm.微波场下钛铁矿的升温曲线表明温度和微波加热时间具有一个非线性关系.

     

    Abstract: The knowledge of dielectric properties of ilmenite ore for welding electrode is essential for widening the sources of raw materials in the production of electrode and the development of microwave reduction ilmenite. The dielectric properties of ilmenite with different TiO2 content (37 %~47 %) at 2.45 GHz at the temperatures from 20 ℃ up to 80 ℃ are measured using the technology of open-ended coaxial sensor method. The temperature increase characteristics of ilmenite is measured by the microwave heating method. The results show that dielectric constant, loss factor and loss tangent of the ilmenite increase significantly with increasing temperature. Dielectric properties of ilmenite enhance with the increasing of TiO2 content overall. The penetration depth of ilmenite decreases with the increase of temperature ranging from 40 ℃ to 80 ℃, and the best thickness of microwave heating ilmenite is 3~6 cm. The temperature rising curve of ilmenite ore under microwave radiation displays a nonlinear relationship between the temperature (T) and microwave heating time (t).

     

/

返回文章
返回